1 引言
在现代通信与数据处理领域,多路复用器(Multiplexer,简称MUX)作为一种关键设备,发挥着不可替代的作用。它能够将多个输入信号选择性地合并到一个输出信号中,从而实现了对通信信道的高效利用,降低了系统成本。本文将详细介绍多路复用器的定义、原理、作用及其在各个领域的应用。
2 多路复用器的原理解析
2.1 什么是多路复用
多路复用器是一种能够接收多个输入信号,并按照某种可恢复的方式将这些信号合并成一个单一输出信号的设备。在电子学中,多路复用器(Multiplexer或MUX)能从多个模拟或数字输入信号中选择某个信号并将其转发,将不同的被选信号输出到同一个输出线路中。复用技术可能遵循以下原则之一,如:时分复用(TDM)、频分复用(FDM)、码分复用(CDM)或波分复用(WDM)。
如下图所示,复用技术将通信信道分为几个逻辑子通道,每一个逻辑子通道用于其中一个信号的传输,因此,多个信号可以在共享的通信信道上同时传输。

2.1 多路复用器的结构和功能
模拟多路复用器通常由一个或多个开关组成,这些开关可以是机械的、电子的或固态的。
多路复用器有一个或多个输入端,一个输出端,以及一个或多个控制信号端。控制信号用于选择哪个输入信号将被传输到输出端。
在实际应用中,多路复用器通常实现串/并转换或并/串转换功能。
2.2 多路复用器的工作原理
多路复用器的原理基于时分复用(Time Division Multiplexing,简称TDM)技术。它将每个输入信号划分为一系列时间片,并按照预定的顺序在传输媒介上进行传输。具体来说,多路复用器内部包含一个时钟源,用于确定时间片的划分和调度。在传输过程中,多路复用器根据时钟源的控制,依次从每个输入通道中获取一个时间片的数据,并将这些时间片按照顺序组合成一个序列。输出端的解复用器通过识别标识符,将接收到的序列还原为原始的各个输入信号。
这种原理的实现需要多路复用器具备较高的精确度和稳定性。时钟源必须能够提供足够高的频率,以确保每个输入信号都能在一个时间片内完成传输。此外,多路复用器还需要具备较低的误码率和较高的抗干扰能力,以确保数据的准确传输。
在模拟多路复用器中,开关切换时需要保证信号的连续性和避免瞬时短路,因此通常采用先开后合(break-before-make)的开关方式。
2.3 多路复用器的作用
多路复用器在通信和数据处理领域具有广泛的应用,其主要作用包括以下几个方面:
1)信号复用:多路复用器能够将多个输入信号合并传输到一个输出端,实现信号的复用。这大大节省了系统中的信号线路和硬件资源,提高了系统的整体效率。
2)信号选择:多路复用器可以根据控制信号选择不同的输入信号进行传输,实现信号的选择。这种选择功能使得系统能够灵活地处理和控制各种信号,满足不同应用的需求。
3)数据传输:多路复用器可以将多个输入信号按照一定的顺序传输到输出端,实现数据的传输和分发。这种功能使得系统能够方便地进行数据处理和交换,提高了数据的传输效率。
2.4 多路复用器的应用
多路复用器在各个领域都有着广泛的应用,以下是几个典型的例子:
1)通信领域:在电话通信系统中,多路复用器可以将多路电话信号合并传输到一根电话线上,从而实现了对通信信道的高效利用。此外,多路复用器还广泛应用于光纤通信、卫星通信等领域。
2)计算机网络:在计算机网络中,多路复用器可以将多个数据包合并传输到一根网络线上,从而提高了网络带宽的利用率。此外,多路复用器还用于实现网络数据的路由和转发等功能。
3)数据处理:在数据处理系统中,多路复用器可以将多个数据源的数据合并传输到处理器中,从而提高了处理器的处理效率。此外,多路复用器还用于实现数据的缓存和同步等功能。
2.5 技术细节
多路复用器的性能受到其内部开关技术的影响,不同类型的开关(如CMOS开关、双极型晶体管开关等)具有不同的特性和应用范围。
在现代电子设计中,多路复用器常集成在单芯片中,以减少电路板空间和功耗,并提供更高的集成度和可靠性。
总之,模拟信号多路复用器通过其内部的开关机制,能够有效地从多个输入信号中选择一个信号并将其传输到输出端,其工作原理和特性使其在各种电子系统中发挥着重要作
3 模拟信号多路复用器的应用领域
模拟多路复用器集成电路(MUX)在多种电子和通信系统中扮演着重要角色,主要用于信号的选择和切换。以下是其主要应用领域:
1)数据采集系统:多路复用器允许多个传感器共享一个公共模数转换器(ADC),从而节省元器件空间、成本和功耗。这种配置提高了系统的灵活性,可以在计算机控制下动态更改电路连接。
2)通信系统:在通信设备中,多路复用器用于路由不同的信号路径,例如在音频和视频切换应用中,确保信号的平滑过渡,避免卡嗒声和爆破音。
3)医疗器械:在医疗设备中,多路复用器用于连接多个生物传感器,如心电图(ECG)或血压监测器,通过单个ADC进行数据采集。
4)自动测试设备(ATE):在ATE中,多路复用器用于快速切换不同的测试信号,提高测试效率和自动化程度。
5)音频和视频切换:在音频和视频设备中,多路复用器用于选择不同的输入源,如电视、DVD播放器或游戏机,确保信号的无缝切换。
6)电池供电系统:在便携式设备中,多路复用器可以用于电源管理,实现多路电源的切换,以优化功耗。
7)继电器替代:在一些应用中,多路复用器可以作为小型继电器的替代品,用于控制电路的开关,具有体积小、响应快的优势。
8)光学应用:在光学系统中,多路复用器用于多路光信号的切换和选择,适用于光通信和光传感领域。
总之,模拟多路复用器集成电路通过其独特的信号选择和切换能力,广泛应用于各种需要高效、灵活信号处理的电子系统中。
4 具体模拟多路复用器芯片的应用
西安硅宇微电子有限公司提供了工作电压:±5V ~ ±20V,双四选一、八选一、双八选一、十六选一的多种封装形式的模拟多路复用器集成电路。
4.1 GY506/GY507
GY506/GY507均为单芯片LC2MOS模拟多路复用器,分别内置16个通道和双8通道。GY506根据4个二进制地址和一个使能输入的状态,将16路输入之一切换至公共输出。GY507根据3个二进制地址和一个使能输入的状态,将8路差分输入之一切换至公共差分输出。两款器件均提供TTL和5V CMOS逻辑兼容的数字输入。
GY506/GY507采用增强型LC2MOS工艺设计,信号处理能力提高到VSS至VDD,并且可以在较宽的电源电压范围内工作。这些器件可以采用10.8V至16.5V范围内的任意单电源或双电源工作。同时还具有高开关速度和低导通电阻特性。
4.1.1 芯片特性说明
1)最大供电电源电压:44V;
2)模拟信号范围:VSS ~ VDD;
3)单/双电源供电;
4)宽电源电压范围:10.8V ~ 16.5V;
5)低功耗:28mW(最大值);
6)低泄漏:20pA(典型值);
7)先开后合式开关动作,从而保护输入信号不受瞬时短路影响;
8)可提供28引脚SOP、TSSOP、CSOP、WCDIP、WSBDIP、CLCC封装。
4.1.2 芯片内部功能图

D、DA、DB:复用端,可做输入或输出端;S1~S16、S1A~S8A、S1B~S8B:源极端,可做输入或输出端;A0 ~ A3:二进制地址输入端;EN:使能端(高电平有效)。
4.1.3 真值表
|
GY506真值表 |
|
GY507真值表 |
||||||||||
|
A3 |
A2 |
A1 |
A0 |
使能端 (EN) |
说明 |
A2 |
A1 |
A0 |
使能端 (EN) |
DA |
DB |
|
|
X |
X |
X |
X |
0 |
禁用 |
X |
X |
X |
0 |
禁用 |
禁用 |
|
|
0 |
0 |
0 |
0 |
1 |
连接源极端S1 |
0 |
0 |
0 |
1 |
连接源极端S1A |
连接源极端S1B |
|
|
0 |
0 |
0 |
1 |
1 |
连接源极端S2 |
0 |
0 |
1 |
1 |
连接源极端S2A |
连接源极端S2B |
|
|
0 |
0 |
1 |
0 |
1 |
连接源极端S3 |
0 |
1 |
0 |
1 |
连接源极端S3A |
连接源极端S3B |
|
|
0 |
0 |
1 |
1 |
1 |
连接源极端S4 |
0 |
1 |
1 |
1 |
连接源极端S4A |
连接源极端S4B |
|
|
0 |
1 |
0 |
0 |
1 |
连接源极端S5 |
1 |
0 |
0 |
1 |
连接源极端S5A |
连接源极端S5B |
|
|
0 |
1 |
0 |
1 |
1 |
连接源极端S6 |
1 |
0 |
1 |
1 |
连接源极端S6A |
连接源极端S6B |
|
|
0 |
1 |
1 |
0 |
1 |
连接源极端S7 |
1 |
1 |
0 |
1 |
连接源极端S7A |
连接源极端S7B |
|
|
0 |
1 |
1 |
1 |
1 |
连接源极端S8 |
1 |
1 |
1 |
1 |
连接源极端S8A |
连接源极端S8B |
|
|
1 |
0 |
0 |
0 |
1 |
连接源极端S9 |
|||||||
|
1 |
0 |
0 |
1 |
1 |
连接源极端S10 |
|||||||
|
1 |
0 |
1 |
0 |
1 |
连接源极端S11 |
|||||||
|
1 |
0 |
1 |
1 |
1 |
连接源极端S12 |
|||||||
|
1 |
1 |
0 |
0 |
1 |
连接源极端S13 |
|||||||
|
1 |
1 |
0 |
1 |
1 |
连接源极端S14 |
|||||||
|
1 |
1 |
1 |
0 |
1 |
连接源极端S15 |
|||||||
|
1 |
1 |
1 |
1 |
1 |
连接源极端S16 |
|||||||
4.1.4 典型应用电路图

4.1.5 质量等级
|
系列名称 |
产品型号 |
工作温度范围 |
封装和管脚数 |
质量等级 |
|
GY506 |
GY506SI |
-40°C ~ +85°C |
SOP-28L |
工业级 |
|
GY506SN1 |
-55°C ~ +125°C |
SOP-28L |
GJB7400 N1级 |
|
|
GY506TSI |
-40°C ~ +85°C |
TSSOP-28L |
工业级 |
|
|
GY506TSN1 |
-55°C ~ +125°C |
TSSOP-28L |
GJB7400 N1级 |
|
|
GY506C02B |
-55°C ~ +125°C |
CSOP-28L |
GJB597 B级 |
|
|
GY506WDB |
-55°C ~ +125°C |
WCDIP-28L |
GJB597 B级 |
|
|
GY506WSB01B |
-55°C ~ +125°C |
WSBDIP-28L |
GJB597 B级 |
|
|
GY506LB |
-55°C ~ +125°C |
CLCC-28L |
GJB597 B级 |
|
|
GY507 |
GY507SI |
-40°C ~ +85°C |
SOP-28L |
工业级 |
|
GY507SN1 |
-55°C ~ +125°C |
SOP-28L |
GJB7400 N1级 |
|
|
GY507TSI |
-40°C ~ +85°C |
TSSOP-28L |
工业级 |
|
|
GY507TSN1 |
-55°C ~ +125°C |
TSSOP-28L |
GJB7400 N1级 |
|
|
GY507C02B |
-55°C ~ +125°C |
CSOP-28L |
GJB597 B级 |
|
|
GY507WDB |
-55°C ~ +125°C |
WCDIP-28L |
GJB597 B级 |
|
|
GY507WSB01B |
-55°C ~ +125°C |
WSBDIP-28L |
GJB597 B级 |
|
|
GY507LB |
-55°C ~ +125°C |
CLCC-28L |
GJB597 B级 |
4.2 GY508/GY509
GY508/GY509均为单芯片LC2MOS模拟多路复用器,分别内置8个通道和双4通道。GY508根据3个二进制地址和一个使能输入的状态,将8路输入之一切换至公共输出。GY509根据2个二进制地址和一个使能输入的状态,将4路差分输入之一切换至公共差分输出。两款器件均提供TTL和5V CMOS逻辑兼容的数字输入。
GY508/GY509采用增强型LC2MOS工艺设计,信号处理能力提高到VSS至VDD,并且可以在较宽的电源电压范围内工作。这些器件可以采用10.8V至16.5V范围内的任意单电源或双电源工作。同时还具有高开关速度和低导通电阻特性。
4.2.1 芯片特性说明
1)最大供电电源电压:44V;
2)模拟信号范围:VSS至VDD;
3)单/双电源供电, 宽电源电压范围:10.8V至16.5V;
4)低功耗:28mW(最大值);
5)低泄漏:20pA(典型值);
6)先开后合式开关动作,从而保护输入信号不受瞬时短路影响;
7)可提供16引脚SOP、TSSOP、CSOP、WCDIP封装和20引脚CLCC封装。
4.2.2 芯片内部功能图

D、DA、DB:复用端,可做输入或输出端;S1~S8、S1A~S4A、S1B~S4B:源极端,可做输入或输出端;A0~A2:二进制地址输入端;EN:使能端(高电平有效)。
4.2.3 真值表
|
GY508真值 |
|
GY509真值表 |
||||||||
|
A2 |
A1 |
A0 |
EN |
说明 |
|
A1 |
A0 |
EN |
DA |
DB |
|
X |
X |
X |
0 |
器件禁用 |
X |
X |
0 |
器件禁用 |
器件禁用 |
|
|
0 |
0 |
0 |
1 |
连接源极端S1 |
0 |
0 |
1 |
连接源极端S1A |
连接源极端S1B |
|
|
0 |
0 |
1 |
1 |
连接源极端S2 |
0 |
1 |
1 |
连接源极端S2A |
连接源极端S2B |
|
|
0 |
1 |
0 |
1 |
连接源极端S3 |
1 |
0 |
1 |
连接源极端S3A |
连接源极端S3B |
|
|
0 |
1 |
1 |
1 |
连接源极端S4 |
|
1 |
1 |
1 |
连接源极端S4A |
连接源极端S4B |
|
1 |
0 |
0 |
1 |
连接源极端S5 |
|
|||||
|
1 |
0 |
1 |
1 |
连接源极端S6 |
||||||
|
1 |
1 |
0 |
1 |
连接源极端S7 |
||||||
|
1 |
1 |
1 |
1 |
连接源极端S8 |
||||||
4.2.4 典型应用电路图

4.2.5 质量等级
|
系列名称 |
产品型号 |
工作温度范围 |
封装和管脚数 |
质量等级 |
|
GY508 |
GY508SI |
-40°C ~ +45°C |
SOP-16L |
工业级 |
|
GY508SN1 |
-55°C ~ +125°C |
SOP-16L |
GJB7400 N1级 |
|
|
GY508TSI |
-40°C ~ +45°C |
TSSOP-16L |
工业级 |
|
|
GY508TSN1 |
-55°C ~ +125°C |
TSSOP-16L |
GJB7400 N1级 |
|
|
GY508CDB |
-55°C ~ +125°C |
CSOP-16L |
GJB597 B级 |
|
|
GY508DB |
-55°C ~ +125°C |
WCDIP-16L |
GJB597 B级 |
|
|
GY508SB02B |
-55°C ~ +125°C |
WSBDIP-16L |
GJB597 B级 |
|
|
GY508LB |
-55°C ~ +125°C |
CLCC-20L |
GJB597 B级 |
|
|
GY509 |
GY509SI |
-40°C ~ +45°C |
SOP-16L |
工业级 |
|
GY509SN1 |
-55°C ~ +125°C |
SOP-16L |
GJB7400 N1级 |
|
|
GY509TSI |
-40°C ~ +45°C |
TSSOP-16L |
工业级 |
|
|
GY509TSN1 |
-55°C ~ +125°C |
TSSOP-16L |
GJB7400 N1级 |
|
|
GY509CDB |
-55°C ~ +125°C |
CSOP-16L |
GJB597 B级 |
|
|
GY509DB |
-55°C ~ +125°C |
WCDIP-16L |
GJB597 B级 |
|
|
GY509SB02B |
-55°C ~ +125°C |
WSBDIP-16L |
GJB597 B级 |
|
|
GY509LB |
-55°C ~ +125°C |
CLCC-20L |
GJB597 B级 |
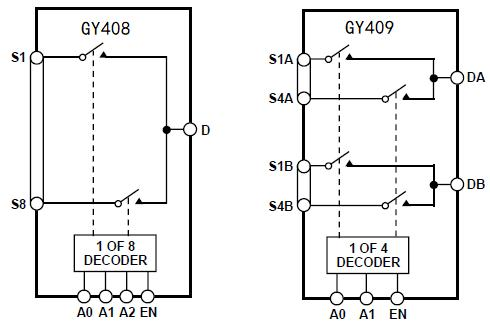
4.3 GY408/GY409
GY408和GY409均为单芯片LC2MOS模拟多路复用器,分别内置8个单通道和4个差分通道。GY408将8个输入中的一个转换为一个公共输出,由3位二进制地址行A0、A1和A2确定。GY409将4个微分输入中的一个转换为一个共同的微分输出,这是由2位二进制地址行A0和A1所决定的。在这两种设备上的输入都被使能端EN用来启用或禁用,当禁用时,所有通道都关闭。
GY408和GY409采用增强型LC2MOS 工艺设计,使芯片具有低功耗、高开关速度和低导通电阻的特性。所有的通道都采用先开后合的设计,在通道转换时防止瞬间短路。
4.3.1 芯片特性说明
1)采用CSOP-16L和CDIP-16L封装;
2)最大供电电源电压:44V;
3)模拟信号范围:VSS至VDD;
4)低功耗:ISUPPLY < 75 mA;
5)低导通电阻:100Ω(最大值);
6)先开后合式开关动作,从而保护输入信号不受瞬时短路影响;
4.3.2 芯片内部功能图

D、DA、DB:复用端,可做输入或输出端;S1~S8、S1A~S4A、S1B~S4B:源极端,可做输入或输出端;A0~A2:二进制地址输入端;EN:使能端(高电平有效)。
4.3.3 真值表
|
GY408真值 |
|
GY409真值表 |
||||||||
|
A2 |
A1 |
A0 |
EN |
说明 |
|
A1 |
A0 |
EN |
DA |
DB |
|
X |
X |
X |
0 |
器件禁用 |
X |
X |
0 |
器件禁用 |
器件禁用 |
|
|
0 |
0 |
0 |
1 |
连接源极端S1 |
0 |
0 |
1 |
连接源极端S1A |
连接源极端S1B |
|
|
0 |
0 |
1 |
1 |
连接源极端S2 |
0 |
1 |
1 |
连接源极端S2A |
连接源极端S2B |
|
|
0 |
1 |
0 |
1 |
连接源极端S3 |
1 |
0 |
1 |
连接源极端S3A |
连接源极端S3B |
|
|
0 |
1 |
1 |
1 |
连接源极端S4 |
|
1 |
1 |
1 |
连接源极端S4A |
连接源极端S4B |
|
1 |
0 |
0 |
1 |
连接源极端S5 |
|
|||||
|
1 |
0 |
1 |
1 |
连接源极端S6 |
||||||
|
1 |
1 |
0 |
1 |
连接源极端S7 |
||||||
|
1 |
1 |
1 |
1 |
连接源极端S8 |
||||||
4.3.4 典型应用电路图

4.5 小结
上诉列举了几款常用芯片,设计工艺都是相同的,只是性能上有所差异。
详细的功能性能描述和电参数,请参阅相关的产品规格书。
5 多路复用器的优缺点
作为一种重要的通信和数据处理设备,多路复用器具有以下优点:
1)提高信道利用率:多路复用器能够将多个信号合并传输到一个信道中,从而提高了信道的利用率和传输效率。
2)降低系统成本:通过合并多个信号到一个信道中传输,多路复用器减少了系统所需的信号线路和硬件资源数量,从而降低了系统成本。
3)灵活性高:多路复用器可以根据需要选择不同的输入信号进行传输,实现灵活的信号处理和控制。
然而,多路复用器也存在一些缺点:
1)复杂性较高:多路复用器需要较高的精确度和稳定性来确保数据的准确传输和处理。因此其设计和实现相对复杂。
2)依赖时钟源:多路复用器的原理基于时分复用技术需要依赖时钟源来确定时间片的划分和调度。如果时钟源出现故障或不稳定则会影响多路复用器的正常工作。
6 结论
多路复用器作为一种重要的通信和数据处理设备在现代通信与数据处理领域发挥着不可替代的作用。通过了解多路复用器的定义、原理、作用及其应用我们可以更加深入地理解其在各个领域的重要性和价值。随着技术的不断发展相信多路复用器将在未来发挥更加重要的作用为各个领域的发展提供有力的支持。
Copyright © 2025 西安硅宇微电子有限公司 技术支持:兄弟网络